- 2. 用户使用说明
- 2014.10.26 3185
2.1 用户注册
大型贵重仪器设备共享管理系统,需要所有用户进行注册,审核通过后才能进入系统使用相关功能。注册分两类情况,一是导师身份注册,二是学生身份注册,而且必须导师先注册其学生才能注册。注册流程如下图所示。

2.1.1 登陆网站,填写注册申请

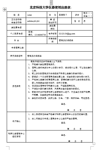
2.1.2 打印注册申请表
Ø 填写好注册申请后,点保存按钮,会跳转到打印“注册申请表”界面(或是登入注册时填写的登录名及密码),如下图所示。

Ø 注册申请DEMO

2.1.3 用户审核
注册用户身份如果是学生,“注册申请表“除了其本人签字外要其导师签字确认,携带注册申请表及其本人校园卡(或学生卡、或饭卡、或公交卡通具体由使用单位规定),到相关仪器管理中心进行登记确认;
2.2仪器机时预约使用
用户审核通过后可以登入系统进行相关仪器的预约操作,具体仪器预约步骤如下图所示:
² 机时预约使用流程

2.2.1 登录系统
用户在IE浏览器输入大型仪器共享平台的网址,点击网站的右上方的“登录”按钮,输入用户名及密码,点击“登入”,如下图:

2.2.2 选择预约仪器
用户登录系统后,通过点击“设备预约”或者“个人中心”里的“仪器设备”搜索查找相关仪器,如下图:

Ø 点击“设备预约”查找仪器,如下图。
Ø 点击“个人中心”中的“仪器设备”查找仪器,如下图。
2.2.3 选择预约时间
注:预约机时之前要先申请该仪器的使用权,只有管理老师通过申请之后才可以进行以下操作。
查找到仪器后,可以通过“查看详情”按钮查看仪器相关的详细信息,点击“预约机时”按钮便可进行仪器预约操作。
Ø 点击“查看详情”(下图)
Ø 查看仪器相关信息(下图)
Ø 点击“预约机时”(如下图)
Ø 选择预约时间(下图)
Ø 预约用户信息填写(可不填,直接下一步,如下图)
2.2.4 阅读预约相关规定并提交预约
2.2.5 预约成功提示
2.2.6 仪器使用(刷卡上机,下机刷卡)
用户在预约的时间范围内,携带注册登记时的校园卡,刷卡(打开相应的门禁、或电脑、或电源)开机使用仪器,用完仪器后,刷卡下机。
2.3 送样预约
² 用户送样预约流程

2.3.1 登录系统
2.3.2 查找分析测试项目

Ø (2)通过“个人中心”→“送样预约管理” →“设备项目浏览”(下图)。

(3)通过“个人中心”→“送样预约管理” →“功能信息浏览”(下图)

2.3.3 提交送样申请


2.3.4 查看检测状态
通过“个人中心”→“送样预约管理” →“我的送样申请单”查询样品状态
如,“未审核”、“已审核”、“检测中”、“完成检车”、“发布结果”等等(下图)。

2.3.5 下载测试报告
对于发布了测试结果的送样申请,用户可以直接下载测试报告(下图)。

2.3.6 提出质疑及查看质疑回复
用户对于测试结果又疑问的,可以提交质疑(下图)。

2.4 网盘上传下载
2.4.1 数据上传
Ø 登入系统,进入“个人中心”,点击“我的网盘” 如下图。

Ø 选中“个人文件分区”下的个人网盘,点“上传按钮”,上传文件(下图)。


2.4.2 数据下载及删除
打开个人文件分区,选中需要下载或者删除的文件,点击“下载”或“删除”按钮,便可下载或删除网盘中的文件(下图)

2.5 查看历史记录
用户登入系统后,通过“个人中心”的“个人首页”能查看搜索用户刷卡的“使用记录”、“预约记录”、“考试记录”、“送样记录”、“扣费记录”、“培训记录”等信息。备注:身份为导师的用户,除了能看到自己的使用记录外,能查看所有课题组成员的相关记录,而身份为学生的用户,只能查看自己个人的相关记录。

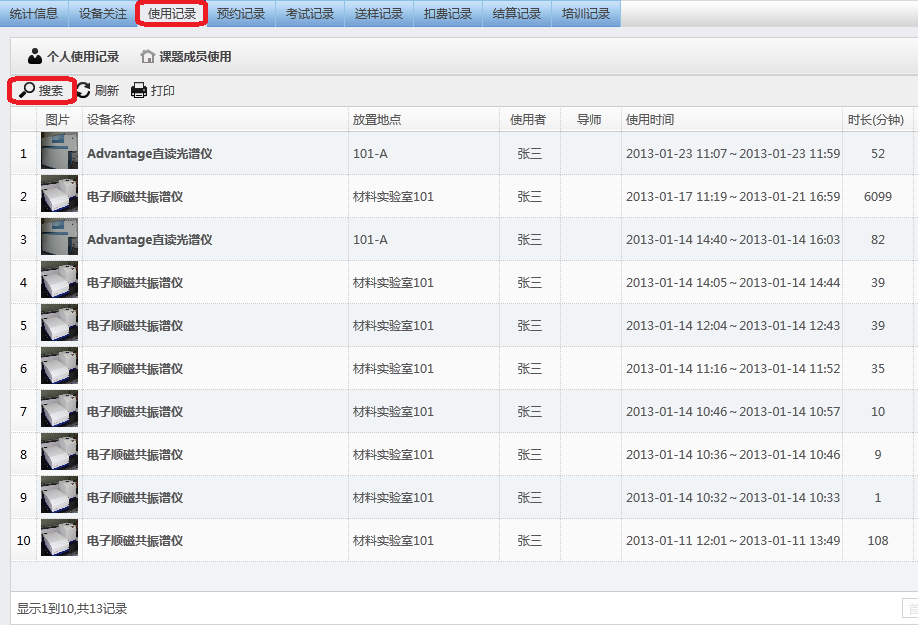
(1) 使用记录(下图)。

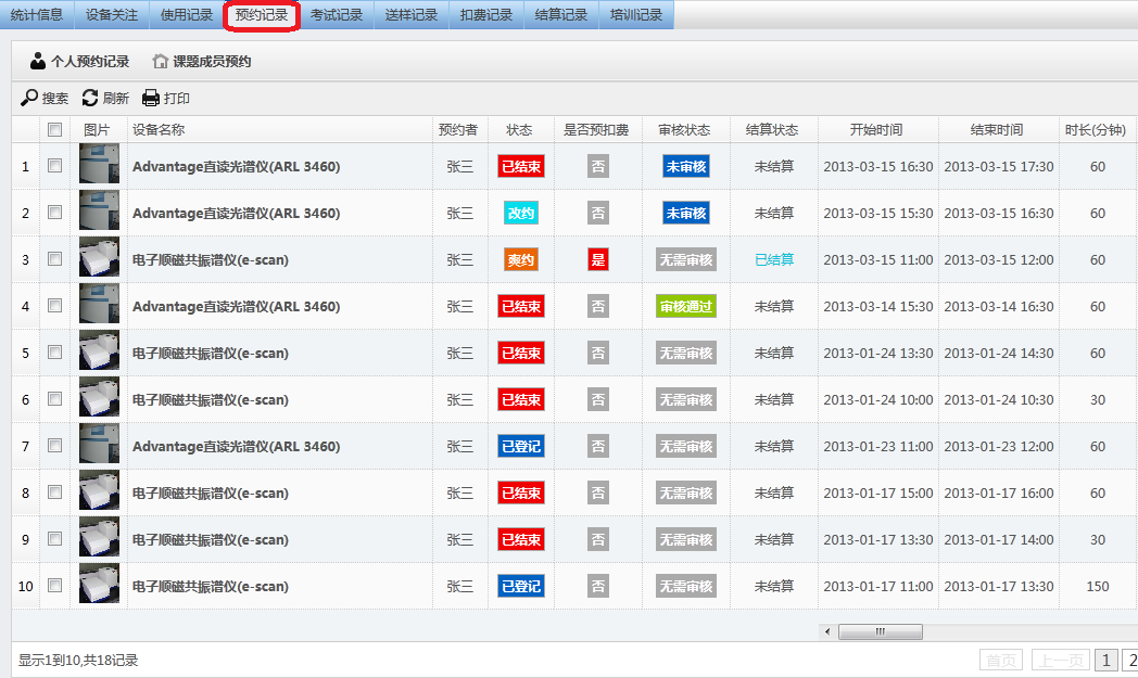
(1) 预约记录(下图)。

2.6 个人信息编辑及收发站内信
A)点击“个人中心”的“我的档案”,可以对用户自身信息进行查看或编辑:个人信息、头像、密码、账户信息、不良记录、申请仪器及个性化设置,如下图。

Ø 通过培训考核的仪器设备,用户可在“申请设备”中申请使用权限(下图)。

B)在“个人中心”的“消息”中,可以产看并收发站内信,如下图。

2.7 导师身份用户相关操作
2.7.1 课题管理
身份为导师的用户,通过可以通过课题管理进行添加课题、对课题相关信息进行编辑、添加或删除课题组成员、给课题组成员分配信用额度。
Ø 进入“个人中心”中的“课题组”,可以添加、编辑、删除课题,如下图。

Ø 点上图“编辑”按钮,编辑课题相关信息,如下图

Ø 添加删除课题组成员,如下图。

Ø 点击上图的“编辑”按钮,可对课题组成员信用额度进行编辑,如下图。

2.7.2 存款管理
身份为导师的用户,可以通过“个人中心”中的“存款管理”,查看存款记录,并进行存款操作,如下图:

2.7.3 成果管理
导师,通过“个人中心”中的“成果管理”,对已获得的相关成果进行汇总,如科研项目、发表论文、出版论著等等,如下图。
